溫州弘凌泵閥有限公司
客服1:0577-67987292
客服2:0577-67987270
傳真:0577-67987252
手機:13355776372
地址:浙江省永嘉縣甌北鎮浦西工業區
直聯式真空泵維護注意事項以及功能說明
時間:2018-3-16 14:47:31來源:http://m.nianxiuwudao.cn作者:弘凌泵閥
為了獲得真空,就必須將容器中的空氣抽出,真空泵就是能將容器中的空氣抽出從而獲得真空的裝置.
2XZ型直聯式真空泵系雙級高速直聯旋片式真空泵,本泵是用來對密封容器抽除氣體而獲得真空的基本設備,它可單獨使用,也可作為各類高真空系統的前級泵和預抽泵。
該系列泵具有低嗓聲、停泵不返油、啟動容易等優點,泵上裝有氣鎮閥,可抽除規定的可凝性蒸氣.本泵不能抽除含氧過高的,腐蝕性的,有爆炸性的或有毒的,以及含有穎粒塵埃的氣體,也不能做壓縮泵、輸氣泵使用.
1.工作原理與構造
該泵是一種容積泵,它借助于滑片在泵腔中連續運轉,使泵腔被滑片分成兩個不同區域的容積周期地擴大與縮小,而將氣體吸進、壓縮與排出,達到容器被抽真空。
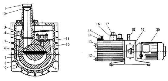
本泵是由兩個工作室前后串聯同向等速旋轉,被抽氣體由前級泵腔抽入,經過壓縮被排入后級泵腔再經過壓縮,排出泵腔.通過減霧器排出泵外,如圖1所示.
圖1 直聯式真空泵結構示意圖
1-進氣管;2-濾網;3-擋油板;4-進氣管“O”形;5-旋片彈簧;6-旋片;
7-轉子;8-定子;9-油箱;10-真空泵油;11-排氣閥門;12-放泊螺塞;
13-油標;14-加油螺塞;15-氣鎮閥;16-減霧器;17-排氣管;
18-手柄;19-聯軸器;20-電機
2.使用方法和注意事項
①先擰開圖1中14加油螺塞,從加油孔中加油至油標2/3(因出廠運輸關系,真空泵腔內無泵油灌入).后從進氣管孔內1加人少許泵油(可能因出廠時間太長,引起泵腔內干燥)以潤滑泵腔,避免開機后出現咬死、發熱現象。泵油選用一號真空泵油,也可選用轎車進口輕質高級汽油代替,如:殼牌轎車機油。
②按規定接上電源線(三相電機要注意電機旋轉方向應與泵支架上的箭頭方向一致),拿掉排氣管17上的橡皮塞帽,空運轉一下,再開始正常工作。
③與泵進氣管口的連接管道不宜過長,千萬注意檢查真空泵外連接管道、接頭及容器絕對不能漏氣,要密封。否則影響極限真空,及真空泵壽命。
④泵的工作環境:溫度5-40℃范圍內,相對濕度不大于85%,進氣口壓力小于1.3×103Pa的條件下工作.對抽速在0.5L/s以上真空泵,均裝有氣鎮閥.如相對濕度較高,可打開氣鎮閥凈化,以凈化泵油及延長泵油使用時間。凈化完畢后及時關死。
⑤此泵抽氣口連續敞通大氣運轉,不得超過3min。




