溫州弘凌泵閥有限公司
客服1:0577-67987292
客服2:0577-67987270
傳真:0577-67987252
手機:13355776372
地址:浙江省永嘉縣甌北鎮浦西工業區
G型單螺桿泵(軸不銹鋼)
產品概述:
G型單螺桿泵在發達國家已廣泛使用,國外多數稱單螺桿泵“莫諾泵”《MONOPUMPS》,德國稱“偏心轉子泵”。由于其優良的性能,近年來在國內的應用范圍也在迅速擴大。單螺桿泵的大特點是對介質的適應性強、流量平穩、壓力脈動小、自吸能力高,這是其它任何泵種所不能替代的。我們對國外(如:德、英、法、日本等國)生產的單螺桿泵及國內同行業的產品,作了分析與研究,博取眾長,對自已的產進行不斷的改革創新。目前我單位的產品已自成一體系,壓力為0.4∽1.2MPa,可滿足廣大用戶對單螺桿泵的不同需求。我單位生產的單螺桿泵,質量可靠,實行三包,價格也相對較低,同時確保單螺桿泵備件的正常供應。本單位熱忱為廣大用戶服務,接受用戶對特殊要求單螺桿泵的設計和制造任務。
型號意義:
使用范圍:
由于該二部件的特殊幾何形狀,分別形成單獨的密封容腔,介質由軸向均勻推行流動,內部流速低,容積保持不變,壓力穩定,因而不會產生渦流和攪動。每級泵的輸出壓力為0.6MPa,揚程60m(清水),自吸高度一般在6m以上。因定子選用多種彈性材料制成,所以這種泵對高粘度流體的輸送和含有硬質懸浮顆粒介質或含有纖維介質的輸送,有一般泵種所不能勝任的特性。其流量與轉速成正比。單螺桿泵結構緊湊,體積小,維修簡便。對介質的適應性強,流量平穩,壓力脈動小,自吸能力高。工作溫度可達120℃,如果需輸送120℃-350℃高溫介質,可定做。廣泛用于食品、冶金、造紙、印染、化工、化肥、制藥等工業部門。
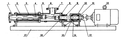
結構示意圖:
出料腔 2 拉桿 3 螺桿膠套 4 螺桿軸 5 萬向節總成 6 吸入口體7 連節軸 8 填料器 9 填料壓蓋 10 軸承座 11 軸承蓋 12 電機13 連軸器 14 軸套 15 軸承 16 傳動主軸 17 底座
性能參數:
|
型號
|
轉速
r/min |
流量
m3/h |
壓力
MPa |
電機
KW |
揚程
m |
進口
mm |
出口
mm |
|
G25-1
|
960
|
2
|
0.6
|
1.5
|
60
|
32
|
25
|
|
G25-2
|
960
|
2
|
1.2
|
2.2
|
120
|
32
|
25
|
|
G30-1
|
960
|
5
|
0.6
|
2.2
|
60
|
50
|
40
|
|
G30-2
|
960
|
5
|
1.2
|
3.0
|
120
|
50
|
40
|
|
G35-1
|
960
|
8
|
0.6
|
3.0
|
60
|
65
|
50
|
|
G35-2
|
960
|
8
|
1.2
|
4.0
|
120
|
65
|
50
|
|
G40-1
|
960
|
12
|
0.6
|
4.0
|
60
|
80
|
65
|
|
G40-2
|
960
|
12
|
1.2
|
5.5
|
120
|
80
|
65
|
|
G50-1
|
960
|
20
|
0.6
|
5.5
|
60
|
100
|
80
|
|
G50-2
|
960
|
20
|
1.2
|
7.5
|
120
|
100
|
80
|
|
G60-1
|
960
|
30
|
0.6
|
11
|
60
|
125
|
100
|
|
G60-2
|
960
|
30
|
1.2
|
15
|
120
|
125
|
100
|
|
G70-1
|
960
|
45
|
0.6
|
15
|
60
|
150
|
125
|
